Научные публикации
Разработка лечебно-тренировочного устройства
Научная публикация

Лечебно-тренировочное устройство

Место публикации:
Федеральная служба по интеллектуальной собственности
Дата публикации
08 апреля 2003
Авторы публикации:
Краткая информация о статье
Предложено лечебно-тренировочное устройство, которое можно использовать при лечении патологий межпоперечных мышц поясничного отдела позвоночника, а также сердечно-сосудистых и лёгочных заболеваний.
Краткая информация о статье

Аннотация

Изобретение относится к медицинской технике и предназначено для использования в качестве лечебно-тренировочного устройства при лечении патологий костно-мышечного аппарата. Тренажёр оснащён пакетом сменных грузов, что позволяет корректировать нагрузку во время занятий. 

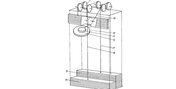
На рисунках ниже представлен общий вид тренажёра.

Патент на тренажер для костно-мышечного аппарата
Устройство тренажера для костно-мышечного аппарата

Польза устройства

С помощью изобретения можно тренировать межпоперечные мышцы за счёт совмещения скручивающих движений туловища с тяговым движением пациента по вертикальной оси. Оно позволяет достигать дозированного растяжения мышц туловища. За счёт наличия каретки и набора грузов можно осуществлять как активную, так и пассивную работу мышц. Эффективно при лечении пациентов с сердечно-сосудистыми и лёгочными заболеваниями.

Информация о журнале / издании:
Федеральная служба по интеллектуальной собственности
Федеральная служба по интеллектуальной собственности (Роспатент) – государственная структура, осуществляющая деятельность по охране патентов, торговых знаков и другой интеллектуальной собственности.
 
Запишитесь к нам на прием!
Ваше имя *
Поля обязательное для заполнения
Телефон *
Поля обязательное для заполнения
Что вас беспокоит?
Поля обязательное для заполнения
Запишитесь к нам на прием!
Другие публикации
Фото к статье про исследование динамики
В процессе мануально-физической коррекции по методу А.Ю. Шишонина достигается существенное устойчивое улучшение кровоснабжение структур головного мозга, находящихся в районе перфузии сосудов вертебробазилярного бассейна.
Фото к статье про исследование баланса железа в крови
Публикуем книгу издательства Taylor&Francis Group. Одну из глав подготовили научные сотрудники клиники доктора Шишонина. Было продемонстрировано, что концентрация гемоглобина, а также процентное содержание эритроцитов в крови (гематокрит), согласно развиваемой в клинике теории централизованной аэробно-анаэробной компенсаторной регуляции являются показателями не только концентрации железа в крови, но и восстановления артериальной гипертензии.
Исследование динамики показателей
В настоящем исследовании выявлено снижение вариабельности артериального давления в процессе мануально-физической коррекции как в дневное, так и в ночное время.